HESP is based on collecting and equalizing waste water from several sites, then raising the pH of the wastewater to the optimum level and coagulating and precipitating the contaminants, resulting in purified water which can be either reused in the frac operation, or further purified for return to the environment. Precipitated solids are collected, filtered out and solidified as dry material. Here’s an example of what HESP can do.

As shown in the chart below, taken from the HESP Patent filing, one of the great advantages of HESP is its simplicity. HESP doesn’t require the use of heat, pressurization or acidification to perform its process, which translates into lower cost for capital equipment, and lower operating cost. For new systems, there is no need to use the more expensive materials that heat, pressurization and acidification require, and most existing systems already possess the equipment components required for HESP, and can be adapted for its use.

And so, whether you have an existing system or you require a new installation, HESP can be used in your operation at a cost saving and performance benefit.
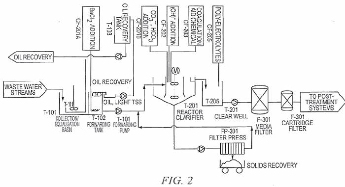
Below is a schematic of the HESP process, taken from the HESP patent.

So, we’ve explained what HESP does, what it looks like, and how it works. If you want to know about the process in greater detail, contact us, and we’ll be happy to provide additional information.
In order for AWTS to be able to provide critical details of how your particular operation can benefit from HESP, we need information as to the composition and volume of your flowback, the number of wells involved, and, if you have an existing system that you are considering upgrading, the details concerning your system and your disposal arrangements. Now we know that some of that information may be highly confidential , and you do not want to have it broadcast to the industry, regulatory agencies, or advocacy groups. So, the first thing that we would do is to provide protection for your information, by signing a Confidentiality Agreement with you. And, since we might find it necessary in our discussions to disclose AWTS proprietary information to you, the Confidentiality Agreement will also provide for protection of our information.
Next, we will need to bench test HESP treatment of a sample of your flowback. That can be done at your site, or, at our lab, or at both. A simple Purchase Order can be used to provide for payment for the test. Of course, the Confidentiality Agreement would apply to the bench test. The purpose of the bench test is to enable us to not only tell you, but to show you, what the results of using HESP to process your flowback will be.
Once you have seen what HESP can do for your operation, we can enter into a SubLicense Agreement with you to proceed further. Further steps will entail use of the patented HESP process, and that can only be done under sub-license. It is a “sub-license” because the HESP inventor, Ken Pandya, issued an exclusive license to AWTS, which conveyed the right to AWTS to sub-license HESP to others.
Once the sub-license is in effect, the next step will be to design your HESP system.
If it is to be a new system, then system design will involve selection and configuration of equipment components. We recommend test operation with a pilot plant to prove the effectiveness of the system design prior to proceeding with finalization of the design and procurement of equipment. If the system to be used already exists and has been operating with a different process, then system design will involve adapting the configuration and operation of the equipment components to the HESP process.
We can provide consulting assistance under a Services Agreement during the design, pilot test and start-up of the system.
For information, or to discuss your requirements, contact us at awtsusa@aol.com or 972-733-4404
*"US Patent 8,147,696, International Patents Pending"